麥瑞公司(Micrellnc)推出了業(yè)界體積最且功能最強大的用于便攜式電子設各的LED驅動器MIC2298。這款器件是一個7W高效的升壓DC/DC變 換器,并以小型3mm×3mm的MLF形式封裝。MlC2298是針對移動電話、個入數字助理(PDA)及數碼相機里的閃光燈和手電筒照明的應用設計的。
MIC2298可確保提供3.5A的轉換電流。其白光LED的亮度可通過向亮度設定引腳施加電壓或脈沖寬度調制(PWM)信號進行動態(tài)控制。這款集成 電路在1MHz的圄定轉換頻率下工作時,效率在86%以上。這種高效率使得電池的使用壽命更長,再加上其超小的體積,使麥瑞的MIC2298成為用 于驅動高級移動電話和PDA設各里的高亮度白光LED的最佳解決方案。
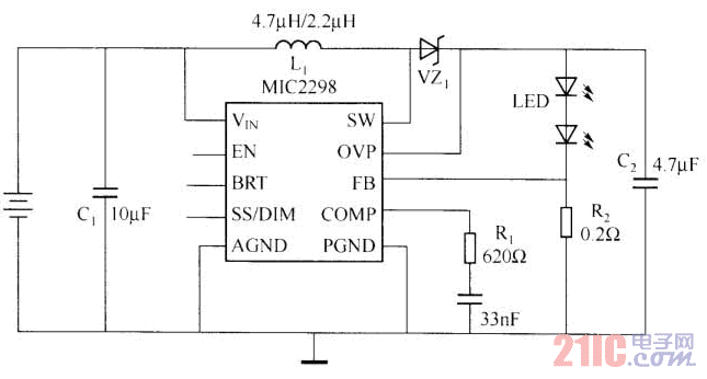
MIC2298解決方案僅需一個小型2.2μH電感器和小型陶瓷電容器,就可使得其體積達到最小,且解決方案的成本也降到最低。其工作輸入電壓 范圍為2.5~10V。MlC2298驅動LED電路如圖所示。
